Nissan Juke Service and Repair Manual : Cylinder block
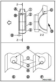
Exploded View

1. Cylinder block
2. Top ring
3. Second ring
4. Oil ring
5. Piston
6. Piston pin
7. Snap ring
8. Connecting rod
9. Connecting rod bearing (upper)
10. Connecting rod bearing (lower)
11. Crankshaft key
12. Connecting rod cap
13. Connecting rod cap bolt
14. Main bearing cap bolt
15. Main bearing beam
16. Main bearing cap
17. Main bearing (lower)
18. Crankshaft
19. Pilot bush
20. Pilot converter (CVT models)
21. Signal plate
22. Rear oil seal
23. Drive plate (CVT models)
24. Reinforcement plate (CVT models)
25. Main bearing (upper)
26. Thrust bearing
27. Oil temperature sensor
28. Oil pressure sensor
29. Knock sensor
30. Flywheel (M/T models)
A. Tightening must be done following the assembly procedure.
Refer to EM-104
B. Chamfered
: Crankshaft side
: N·m (kg-m, ft-lb)
: N·m (kg-m, in-lb)
: Always replace after every
disassembly.
: Should be lubricated with oil.
: Sealing point
: Select with proper thickness.
Disassembly and Assembly
DISASSEMBLY
1. Remove oil pan (upper). Refer to EM-99, "Exploded View".
2. Remove thermostat housing. Refer to CO-24, "Exploded View".
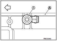
3. Remove knock sensor.
CAUTION:
Carefully handle sensor avoiding shocks.
4. Remove piston and connecting rod assembly with the following procedure: Before removing piston and connecting rod assembly, check the connecting rod side clearance. Refer to EM-112, "Inspection".
a. Position crankshaft pin corresponding to connecting rod to be removed onto the bottom dead center.
b. Remove connecting rod cap.
c. Using a hammer handle or similar tool, push piston and connecting rod assembly out to the cylinder head side.
CAUTION:
Be careful not to damage matching surface with connecting
rod cap.
Be careful not to damage the cylinder wall and crankshaft pin, resulting from an interference of the connecting rod big end.

5. Remove connecting rod bearings.
CAUTION:
When removing them, note the installation position. Keep them in the correct.
6. Remove piston rings from piston.
Before removing piston rings, check the piston ring side clearance. Refer to EM-112, "Inspection".
Use a piston ring expander (commercial service tool) (A).
CAUTION:
When removing piston rings, be careful not to damage
the piston.
Be careful not to damage piston rings by expanding them excessively.

7. Remove piston from connecting rod with the following procedure: a. Using snap ring pliers (A), remove snap rings.

b. Heat piston to 60 to 70°C (140 to 158°F) with an industrial use drier (A) or equivalent.

c. Push out piston pin with stick of outer diameter approximately 18 mm (0.71 in).

8. Remove main bearing cap bolts.
Measure crankshaft end play before loosening main bearing cap bolts. Refer to EM-112, "Inspection".
Loosen and remove main bearing cap bolts in reverse order as shown in the figure.
: Engine front
Use TORX socket.

9. Remove main bearing caps.
Tap main bearing caps lightly with a plastic hammer for removal.
CAUTION:
Be careful not to damage the mounting surface.
10. Remove crankshaft.
CAUTION:
Be careful not to damage or deform signal plate (1)
mounted on rear end of crankshaft (A).
When setting crankshaft on a flat floor surface, use a block of wood to avoid interference between signal plate and the floor surface.
Never remove signal plate unless it is necessary to do so.
NOTE:
When removing or installing signal plate, use TORX socket.

11. Pull rear oil seal out from rear end of crankshaft.
12. Remove main bearings and thrust bearings from cylinder block and main bearing caps.
CAUTION:
Identify installation positions, and store them without mixing them up.
ASSEMBLY
1. Fully air-blow engine coolant and engine oil passages in cylinder block, cylinder bore and crankcase to remove any foreign material.
CAUTION:
Use a goggles to protect your eye.
2. Install each plug to cylinder block as shown in the figure.
2 : Washer
: Engine front

Apply liquid gasket to the thread of water drain plug (4).
Use Genuine Liquid Gasket or equivalent.
Apply sealant to the thread of plug (1).
Use genuine high strength thread locking sealant or equivalent.
NOTE:
Do not apply liquid gasket or high strength thread locking sealant to the plug (3).
Tighten each plug as specified below.

3. Install main bearings and thrust bearings with the following procedure: a. Remove dust, dirt, and engine oil on the bearing mating surfaces of cylinder block and main bearing cap.
b. Install thrust bearings to the both sides of the No. 3 journal housing (B) on cylinder block.
: Engine front
Install thrust bearings with the oil groove (A) facing crankshaft arm (outside).

c. Install the main bearings paying attention to the direction.
Before installing main bearings, apply new engine oil to the bearing surface (inside). Do not apply new engine oil to the back surface, but thoroughly clean it.
When installing, align main bearing to the center position of cylinder block and main bearing cap.
The difference (A) between main bearing (upper) (1) and main bearing (lower) (3) should be 0.85 mm (0.0335 in) or less when installing.
2 : Cylinder block
4 : Main bearing cap

Ensure the oil holes on cylinder block and oil holes (A) on the main bearings (1) are aligned.

4. Install signal plate to crankshaft if removed.
a. Set the signal plate with the flange facing toward the counter weight side (engine front side) to the crankshaft rear surface.
b. Apply new engine oil to threads and seat surfaces of mounting bolts.
c. Position crankshaft (2) and signal plate (1) using a dowel pin (service part), and tighten mounting bolts in numerical order as shown in the figure using TORX socket.
A : Dowel pin hole
Dowel pin of crankshaft and signal plate is provided as a set for each.
d. Tighten mounting bolts in numerical order as shown in the figure again.
e. Remove dowel pin. (service parts)
CAUTION:
Be sure to remove dowel pin.

5. Install crankshaft to cylinder block.
While turning crankshaft by hand, check that it turns smoothly.
6. Install main bearing caps with the following procedure: a. Install main bearing caps referring to the journal No. stamp (A) and front mark (B) as shown in the figure.
: Engine front
NOTE
:
Main bearing cap cannot be replaced as a single part, because it
is machined together with cylinder block.

b. Tighten main bearing cap bolts in numerical order as shown in the figure with the following procedure:
: Engine front
i. Apply new engine oil to threads and seat surfaces of mounting bolts.
ii. Tighten main bearing cap bolts.
: 34.3 N·m (3.5 kg-m, 25 ft-lb)

iii. Turn main bearing cap bolts 60 degrees clockwise (angle tightening) in order from No. 1 to 10 in the figure.
CAUTION:
Confirm the tightening angle by using an angle wrench
[SST: KV10112100 (BT8653-A)] (A) or protractor. Never
judge by visual inspection without the tool.

After installing mounting bolts, check that crankshaft can be rotated smoothly by hand.
Check crankshaft end play. Refer to EM-112, "Inspection".
7. Install piston to connecting rod with the following procedure: a. Using snap ring pliers, install new snap ring to the groove of the piston rear side.
Insert it fully into groove to install.
b. Assemble piston to connecting rod.
Using an industrial use drier or similar tool, heat the piston until the piston pin can be pushed in by hand without excess force [approximately 60 to 70°C (140 to 158°F)]. From the front to the rear, insert piston pin into piston and connecting rod.
Assemble so that the front mark (A) on the piston head and the oil hole (B) and the cylinder number (D) on connecting rod are positioned as shown in the figure.
C : Engine type
E : Large end hole diameter grade
F : Front mark (connecting rod)
c. Install new snap ring to the groove of the piston front side.
Insert it fully into groove to install.
After installing, check that connecting rod moves smoothly.

8. Using a piston ring expander (commercial service tool), install piston rings.
CAUTION:
Be careful not to damage piston.
Be careful not to damage piston rings by expanding them excessively.
Position each ring with the gap as shown in the figure referring to the piston front mark.
A : Oil ring upper or lower rail gap
B : Front mark
C : Second ring and oil ring spacer gap
D : Top ring gap
E : Stamped mark
CAUTION:
Never contact the rail end gap under the oil ring with the
oil drain cast groove of piston.
Install second ring with the stamped surface facing upward.

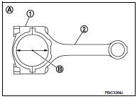
9. Install connecting rod bearing upper (2) and lower (3) to connecting rod (1) and connecting rod cap (4).
C : Oil hole (connecting rod)
D : View D
E : OK
F : NG
g : 2.55 - 2.95 mm (0.1004 - 0.1161 in)
: Engine front
Install the connecting rod in the dimension shown in the figure.
Check that connecting rod bearing oil hole (A) is completely in the inside of connecting rod oil hole chamfered area (B).
When installing connecting rod bearings, apply new engine oil to the bearing surface (inside). Do not apply new engine oil to the back surface, but thoroughly clean it.
NOTE
:
There is no positioning tab.
Install the connecting rod bearings in the center of connecting rod and connecting rod cap as shown in the figure. For service operation, the center position can be checked, visually.

10. Install piston and connecting rod assembly to crankshaft.
Position crankshaft pin corresponding to connecting rod to be installed onto the bottom dead center.
Apply new engine oil sufficiently to the cylinder bore, piston and crankshaft pin.
Match the cylinder position with the cylinder number (D) on connecting rod to install.
A : Front mark (piston)
B : Oil hole
C : Engine type
E : Large end hole diameter grade
F : Front mark (connecting rod)
Install so that front mark (A) on the piston head faces the front of engine.
![ Using a piston ring compressor [SST: EM03470000 (J-8037)]](images/books/335/4/index.38.jpg)
Using a piston ring compressor [SST: EM03470000 (J-8037)] (A) or suitable tool, install piston with the front mark on the piston head facing the front of the engine.
CAUTION:
Be careful not to damage the cylinder wall and crankshaft
pin, resulting from an interference of the connecting rod
big end.

11. Install connecting rod cap.
Match the stamped cylinder number marks (D) on connecting rod with those on connecting rod cap to install.
A : Front mark (piston)
B : Oil hole
C : Engine type
E : Large end hole diameter grade
F : Front mark (connecting rod)

12. Tighten connecting rod cap bolt with the following procedure:
CAUTION:
Check that there is no gap in the thrust surface (A) of the
joint between connecting rod (1) and connecting rod cap
(2) and that these parts are in the correct position. And
then, tighten the connecting rod cap bolts.
If the connecting rod cap bolts are reused, measure the outer diameter. Refer to EM-112, "Inspection".
a. Apply new engine oil to the threads and seats of connecting rod cap bolts.
b. Tighten connecting rod cap bolts.
: 27.5 N·m (2.8 kg-m, 20 ft-lb)
c. Completely loosen connecting rod cap bolts.
: 0 N·m (0 kg-m, 0 ft-lb)
d. Tighten connecting rod cap bolts.

: 19.6 N·m (2.0 kg-m, 14 ft-lb)
e. Then turn all connecting rod cap bolts 60 degrees clockwise (angle tightening).
CAUTION:
Check and confirm the tightening angle by using an angle
wrench [SST: KV10112100 (BT8653-A)] (A) or protractor.
Never judge by visual inspection without the tool.

After tightening connecting rod cap bolt, check that crankshaft rotates smoothly.
Check the connecting rod side clearance. Refer to EM-112, "Inspection".
13. Install oil pan (upper). Refer to EM-99, "Exploded View".
NOTE
:
Install the rear oil seal after installing the oil pan (upper).
14. Install rear oil seal. Refer to EM-88, "REAR OIL SEAL : Removal and Installation".
15. Install flywheel (M/T models) or drive plate (CVT models).
Drive plate (CVT models) Secure crankshaft with a stopper plate [SST: KV11105210 (J- 44716)], (A) and tighten mounting bolts crosswise over several times.
1 : Drive plate

Install pilot converter (1), drive plate (2), and reinforcement plate (3) as shown in the figure.
A : Crankshaft rear end B : R
Using a drift of 33 mm (1.30 in) in dia meter, press-fit pilot converter into the end of crankshaft until it stops.

Fly wheel (M/T models) Secure crankshaft with a stopper plate [SST: KV11105210 (J-44716)] and tighten mounting bolts crosswise over several times.
NOTE
:
M/T models have no pilot bushing and reinforcement plate.
16. Install knock sensor.
Install knock sensor (1) with harness connector facing toward the rear of engine.
A : Cylinder block left side
: Engine front
CAUTION:
Never tighten mounting bolts while holding the harness
connector.
If any impact by dropping is applied to knock sensor, replace it with a new one.
NOTE:
Check that there is no foreign material on the cylinder block mating surface and the back surface of knock sensor.
Check that knock sensor does not interfere with other parts.
17. Assemble in the reverse order of disassembly.

Inspection
CRANKSHAFT END PLAY
Measure the clearance between thrust bearings and crankshaft arm when crankshaft is moved fully forward or backward with a dial indicator (A).
Standard and Limit : Refer to EM-134, "Cylinder Block".
If the measured value exceeds the limit, replace thrust bearings, and measure again. If it still exceeds the limit, replace crankshaft also.

CONNECTING ROD SIDE CLEARANCE
Measure the side clearance between connecting rod and crankshaft arm with a feeler gauge (A).
Standard and Limit : Refer to EM-134, "Cylinder Block".
If the measured value exceeds the limit, replace connecting rod, and measure again. If it still exceeds the limit, replace crankshaft also.

PISTON TO PISTON PIN OIL CLEARANCE
Piston Pin Hole Diameter Measure the inner diameter of piston pin hole with an inside micrometer (A).
Standard : Refer to EM-134, "Cylinder Block".

Piston Pin Outer Diameter Measure the outer diameter of piston pin with a micrometer (A).
Standard : Refer to EM-134, "Cylinder Block".

Piston to Piston Pin Oil Clearance (Piston to piston pin oil clearance) = (Piston pin hole diameter) (Piston pin outer diameter)
Standard : Refer to EM-134, "Cylinder Block".
If oil clearance is out of the standard, replace piston and piston pin assembly.
When replacing piston and piston pin assembly. Refer to EM-122, "Description".
NOTE
:
Piston is available together with piston pin as assembly.
Piston pin (piston pin hole) grade is provided only for the parts installed at the plant. For service parts, no grades can be selected. (Only grade 0 is available.) PISTON RING SIDE CLEARANCE
Measure the side clearance of piston ring and piston ring groove with a feeler gauge (A).
Standard and Limit : Refer to EM-134, "Cylinder Block".
If the measured value exceeds the limit, replace piston ring, and measure again. If it still exceeds the limit, replace piston also.

PISTON RING END GAP
Check that cylinder bore inner diameter is within specification. Refer to PISTON TO CYLINDER BORE CLEARANCE.
Lubricate with new engine oil to piston (1) and piston ring (2), and then insert (A) piston ring until middle of cylinder (B) with piston, and measure piston ring end gap with a feeler gauge (C).
Standard and Limit : Refer to EM-134, "Cylinder Block"
If the measured value exceeds the limit, replace piston ring, and measure again. If it still exceeds the limit, rebore cylinder and use oversized piston and piston rings.

CONNECTING ROD BEND AND TORSION
Check with a connecting rod aligner.
A : Bend
B : Torsion
C : Feeler gauge
Limit : Refer to EM-134, "Cylinder Block".
If it exceeds the limit, replace connecting rod assembly.

CONNECTING ROD BIG END DIAMETER
Install connecting rod cap (1) without connecting rod bearing installed, and tightening connecting rod cap bolts to the specified torque. Refer to EM-104, "Disassembly and Assembly".
2 : Connecting rod
A : Example
B : Measuring direction of inner diameter
Measure the inner diameter of connecting rod big end with an inside micrometer.
Standard : Refer to EM-134, "Cylinder Block".
If out of the standard, replace connecting rod assembly.

CONNECTING ROD BUSHING OIL CLEARANCE
Connecting Rod Bushing Inner Diameter Measure the inner diameter of connecting rod bushing with an inside micrometer (A).
Standard : Refer to EM-134, "Cylinder Block".

Piston Pin Outer Diameter Measure the outer diameter of piston pin with a micrometer (A).
Standard : Refer to EM-134, "Cylinder Block".

Connecting Rod Bushing Oil Clearance (Connecting rod bushing oil clearance) = (Connecting rod bushing inner diameter) (Piston pin outer diameter)
Standard and Limit : Refer to EM-134, "Cylinder Block".
If the measured value is out of the standard, replace connecting rod assembly and/or piston and piston pin assembly.
If replacing piston and piston pin assembly. Refer to EM-122, "Piston".
If replacing connecting rod assembly. Refer to EM-123, "Connecting Rod Bearing".
CYLINDER BLOCK TOP SURFACE DISTORTION
Using a scraper, remove gasket on the cylinder block surface, and also remove engine oil, scale, carbon, or other contamination.
CAUTION:
Be careful not to allow gasket flakes to enter engine oil or engine coolant
passages.
Measure the distortion on the cylinder block upper face at some different points in six directions with a straight edge (A) and feeler gauge (B).
Limit : Refer to EM-134, "Cylinder Block".
If it exceeds the limit, replace cylinder block.

MAIN BEARING HOUSING INNER DIAMETER
Install main bearing cap without main bearings installed, and tighten main bearing cap mounting bolts to the specified torque. Refer to EM-104, "Disassembly and Assembly".
Measure the inner diameter of main bearing housing with a bore gauge.
Measure the position shown in the figure [5 mm (0.20 in)] backward from main bearing housing front side in the 2 directions as shown in the figure. The smaller one is the measured value.
1 : Cylinder block
2 : Main bearing cap
: Engine front
Standard : Refer to EM-134, "Cylinder Block".

If out of the standard, replace cylinder block and main bearing caps assembly.
NOTE
:
Main bearing caps cannot be replaced as a single, because it is machined
together with cylinder block.
PISTON TO CYLINDER BORE CLEARANCE
Cylinder Bore Inner Diameter Using a bore gauge, measure the cylinder bore for wear, out-ofround and taper at six different points on each cylinder. [(A) and (B) directions at (C), (D), and (E)] [(A) is in longitudinal direction of engine]
f : 10 mm (0.39 in)
g : 60 mm (2.36 in)
h : 130 mm (5.12 in)
NOTE
:
When determining cylinder bore grade, measure the cylinder bore
(B) direction at (D) position.

Standard:
Cylinder bore inner diameter
: Refer to EM-134, "Cylinder Block".
Limit: Out-of-round [Difference between (A) and (B)] Taper [Difference between (C) and (D)] : Refer to EM-134, "Cylinder Block".
If the measured value exceeds the limit, or if there are scratches and/or seizure on the cylinder inner wall, replace cylinder block.
NOTE
:
Oversize piston is not provided.
Piston Skirt Diameter Measure the outer diameter of piston skirt with a micrometer (A).
Standard : Refer to EM-134, "Cylinder Block".

Piston to Cylinder Bore Clearance Calculate by piston skirt diameter and cylinder bore inner diameter [direction (B), position (D)].
A : Direction A
C : Position C
E : Position E
f : 10 mm (0.39 in)
g : 60 mm (2.36 in)
h : 130 mm (5.12 in)
(Clearance) = (Cylinder bore inner diameter) (Piston skirt diameter)

Standard and Limit : Refer to EM-134, "Cylinder Block".
If it exceeds the limit, replace piston and piston pin assembly and/or cylinder block. Refer to EM-122, "Piston".
CRANKSHAFT MAIN JOURNAL DIAMETER
Measure the outer diameter of crankshaft main journals with a micrometer (A).
Standard : Refer to EM-134, "Cylinder Block".
If out of the standard, measure the main bearing oil clearance.
Then use undersize bearing. Refer to EM-138, "Main Bearing".

CRANKSHAFT PIN JOURNAL DIAMETER
Measure the outer diameter of crankshaft pin journal with a micrometer.
Standard : Refer to EM-134, "Cylinder Block".
If out of the standard, measure the connecting rod bearing oil clearance. Then use undersize bearing. Refer to EM-138, "Connecting Rod Bearing".
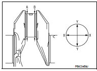
OUT-OF-ROUND AND TAPER OF CRANKSHAFT
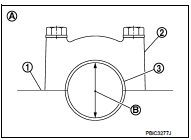
Measure the dimensions at four different points as shown in the figure on each main journal and pin journal with a micrometer.
Out-of-round is indicated by the difference in dimensions between (X) and (Y) at (A) and (B).
Taper is indicated by the difference in dimension between (A) and (B) at (X) and (Y).
Limit: Out-of-round [Difference between (X) and (Y)] Taper [Difference between (A) and (B)] : Refer to EM-134, "Cylinder Block".

If the measured value exceeds the limit, correct or replace crankshaft.
If corrected, measure the bearing oil clearance of the corrected main journal and/or pin journal. Then select main bearing and/or connecting rod bearing. Refer to EM-123, "Connecting Rod Bearing" and/or EM-125, "Main Bearing".
CRANKSHAFT RUNOUT
Place a V-block on a precise flat table to support the journals on the both end of the crankshaft.
Place a dial indicator (A) straight up on the No. 3 journal.
While rotating crankshaft, read the movement of the pointer on the dial indicator. (Total indicator reading)
Standard and Limit : Refer to EM-134, "Cylinder Block".
If it exceeds the limit, replace crankshaft.

CONNECTING ROD BEARING OIL CLEARANCE
Method by Calculation
Install connecting rod bearings (2) to connecting rod (3) and connecting rod bearing cap (1), and tighten connecting rod cap bolts to the specified torque. Refer to EM-104, "Disassembly and Assembly".
A : Example
B : Inner diameter measuring direction
Measure the inner diameter of connecting rod bearing with an inside micrometer.
(Bearing oil clearance) = (Connecting rod bearing inner diameter) (Crankshaft pin journal diameter)

Standard and Limit : Refer to EM-138, "Connecting Rod Bearing".
If clearance exceeds the limit, select proper connecting rod bearing according to connecting rod big end diameter and crankshaft pin journal diameter to obtain specified bearing oil clearance. Refer to EM-123, "Connecting Rod Bearing".
Method of Using Plastigage Remove engine oil and dust on crankshaft pin and the surfaces of each bearing completely.
Cut a plastigage slightly shorter than the bearing width, and place it in crankshaft axial direction, avoiding oil holes.
Install connecting rod bearings to connecting rod and cap, and tighten connecting rod cap bolts to the specified torque. Refer to EM-104, "Disassembly and Assembly".
CAUTION:
Never rotate crankshaft.
Remove connecting rod cap and bearing, and using the scale (A) on the plastigage bag, measure the plastigage width.
NOTE
:
The procedure when the measured value exceeds the limit is
same as that described in the Method by Calculation.

MAIN BEARING OIL CLEARANCE
Method by Calculation Install main bearings (3) to cylinder block (1) and main bearing cap (2), and tighten main bearing cap mounting bolts to the specified torque. Refer to EM-104, "Disassembly and Assembly".
A : Example
B : Inner diameter measuring directi
Measure the inner diameter of main bearing with a bore gauge.
(Bearing oil clearance) = (Main bearing inner diameter) (Crankshaft main journal diameter)
Standard and Limit : Refer to EM-138, "Main Bearing".

If clearance exceeds the limit, select proper main bearing according to main bearing inner diameter and crankshaft main journal diameter to obtain specified bearing oil clearance. Refer to EM-125, "Main Bearing".
Method of Using Plastigage Remove engine oil and dust on crankshaft main journal and the surfaces of each bearing completely.
Cut a plastigage slightly shorter than the bearing width, and place it in crankshaft axial direction, avoiding oil holes.
Install main bearings to cylinder block and main bearing cap, and tighten main bearing cap mounting bolts to the specified torque. Refer to EM-104, "Disassembly and Assembly".
CAUTION:
Never rotate crankshaft.
Remove main bearing cap and bearings, and using the scale (A) on the plastigage bag, measure the plastigage width.
NOTE
:
The procedure when the measured value exceeds the limit is
same as that described in the Method by Calculation.

MAIN BEARING CRUSH HEIGHT
When main bearing cap is removed after being tightened to the specified torque with main bearings (1) installed, the tip end of bearing must protrude (B). Refer to EM-104, "Disassembly and Assembly".
A : Example
Standard : There must be crush height.
If the standard is not met, replace main bearings.

CONNECTING ROD BEARING CRUSH HEIGHT
When connecting rod cap is removed after being tightened to the specified torque with connecting rod bearings (1) installed, the tip end of bearing must protrude (B). Refer to EM-104, "Disassembly and Assembly
A : Example
Standard : There must be crush height
If the standard is not met, replace connecting rod bearings.

MAIN BEARING CAP BOLT OUTER DIAMETER
Measure the outer diameters (d1) and (d2) at two positions as shown in the figure.
A : (d1) measuring position B : (d2) measuring position
If reduction appears in places other than (B) range, regard it as (d2).
Limit [(d1) (d2)]: 0.15 mm (0.0059 in)
If it exceeds the limit (a large difference in dimensions), replace main bearing cap mounting bolt with a new one.

CONNECTING ROD CAP BOLT OUTER DIAMETER
Measure the outer diameter (d) at position as shown in the figure.
If reduction appears in a position other than (d), regard it as (d).
Limit: 7.75 mm (0.3051 in)
When (d) exceeds the limit (when it becomes thinner), replace connecting rod cap bolt with a new one.

CLOGGED OR DAMAGED OIL FILTER (FOR INTAKE VALVE TIMING CONTROL)
Check that there is no foreign material on the oil filter and check it for clogging.
- Clean it if necessary.
Check the oil filter for damage.
- Replace it if necessary.

FLYWHEEL DEFLECTION (M/T MODELS)
Measure the deflection of flywheel contact surface to torque with a dial indicator (A).
Measure the deflection at 210 mm (8.27 in) diameter.
Limit : 0.45 mm (0.0177 in) or less.
If measured value is out of the standard, replace flywheel.
If a trace of burn or discoloration is found on the surface, repair it with sandpaper.
CAUTION:
When measuring, keep magnetic fields (such as dial indicator
stand) away from signal plate of the rear end of crankshaft.

MOVEMENT AMOUNT OF FLYWHEEL (M/T MODELS)
CAUTION:
Never disassemble double mass flywheel.
Movement Amount of Thrust (Fore-and-Aft) Direction Measure the movement amount of thrust (fore-and-aft) direction when 100 N (10.2 kg, 22 lb) force is added at the portion of 125 mm (4.92 in) radius from the center of flywheel.
Standard : 1.8 mm (0.071 in) or less
If measured value is out of the standard, replace flywheel.
Movement Amount in Radial (Rotation) Direction Check the movement amount of radial (rotation) direction with the following procedure:
1. Install clutch cover mounting bolt (1) to clutch cover mounting hole, and place a torque wrench (A) on the extended line of the flywheel (2) center line.
Tighten bolt at a force of 9.8 N·m (1.0 kg-m, 87 in-lb) to keep it from loosening.
2. Put a mating mark on circumferences of the two flywheel masses without applying any load (Measurement standard points).
3. Apply a force of 9.8 N·m (1.0 kg-m, 87 in-lb) in each direction, and mark the movement amount on the mass on the transaxle side.
4. Measure the dimensions of movement amounts A and B on circumference of the flywheel on the transaxle side.
Limit : 33.2 mm (1.307 in) or less.
If measured value is out of the standard, replace flywheel.

DRIVE PLATE (CVT MODELS)
Check drive plate and signal plate for deformation or damage.
CAUTION:
Never disassemble drive plate.
Never place drive plate with signal plate facing down.
When handling signal plate, take care not to damage or scratch it.
Handle signal plate in a manner that prevents it from becoming magnetize
d.
In anything is found, replace drive plate.

Oil pan (upper)
Exploded View
1. O-ring
2. Oil pan (upper)
3. Oil level gauge guide
4. O-ring
5. Oil level gauge
6. Oil pump drive chain
7. Crankshaft sprocket
8. Oil pump sprocket
9. Oil pump chain ...
How to select piston and bearing
Description
The identification grade stamped on each part is the grade for the
dimension measured in new condition. This grade cannot apply to reused parts.
For reused or repaired parts, mea ...
Other materials:
C1105, C1106, C1107, C1108 wheel sensor
DTC Logic
DTC DETECTION LOGIC
DTC CONFIRMATION PROCEDURE
1.PRECONDITIONING
If DTC CONFIRMATION PROCEDURE has been previously conducted, always turn
ignition switch OFF and
wait at least 10 seconds before conducting the next test.
>> GO TO 2.
2.CHECK DTC DETECTION
With CONSULT-I ...
B1001, B1002, B1003, B1004, B1005 diagnosis sensor unit
DTC Logic
DTC DETECTION LOGIC
DTC CONFIRMATION PROCEDURE
1.CHECK SELF-DIAG RESULT
With CONSULT-III
1. Turn ignition switch ON.
2. Perform Self Diagnostic Result mode of AIR BAG using CONSULT-III.
Without CONSULT-III
1. Turn ignition switch ON.
2. Check the air bag warning lamp statu ...
Main line betweeN DLC and MDU circuit
Diagnosis Procedure
1.CHECK HARNESS CONTINUITY (OPEN CIRCUIT)
1. Turn the ignition switch OFF.
2. Disconnect the battery cable from the negative terminal.
3. Disconnect the following harness connectors.
- ECM
- Multi display unit
4. Check the continuity between the data link connector and the ...
