Nissan Juke Service and Repair Manual : Front suspension member
Exploded View
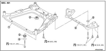
2WD

1. Front suspension member
2. Damper assembly*
3. Rebound stopper rubber
4. Washer
5. Member stay
6. Rebound stopper
: N·m (kg-m, ft-lb)
*: For K9K models
4WD

1. Front suspension member
2. Rebound stopper rubber
3. Washer
4. Member stay
5. Rebound stopper
: N·m (kg-m, ft-lb)
Removal and Installation
REMOVAL
1. Separate intermediate shaft from steering gear assembly. Refer to ST-14, "Removal and Installation".
2. Remove tires. Refer to WT-7, "Removal and Installation".
3. Remove front under cover.
4. Separate stabilizer connecting rod from strut assembly. Refer to FSU-16, "Removal and Installation".
5. Separate steering outer socket from steering knuckle. Refer to ST-19, "Removal and Installation".
6. Separate transverse link from steering knuckle.
• MR16DDT: Refer to FAX-11, "Removal and Installation".
• HR16DE: Refer to FAX-43, "Removal and Installation".
• K9K: Refer to FAX-68, "Removal and Installation".
7. Remove rear torque rod.
• MR16DDT: Refer to EM-55, "2WD : Removal and Installation".
• HR16DE: Refer to EM-215, "Removal and Installation".
• K9K: Refer to EM-326, "Removal and Installation".
8. Set suitable jack under front suspension member.
CAUTION:
Check the stable condition when using a jack.
9. Remove member stay and rebound stopper.
10. Remove suspension member mounting bolts, washer, and rebound stopper rubber.
11. Gradually lower the jack to remove front suspension member from vehicle body.
CAUTION:
Operate while checking that jack supporting status is stable.
NOTE:
Remove it with each component parts.
12. Remove damper assembly from front suspension member. (K9K models only) 13. Remove component parts from front suspension member.
14. Perform inspection after removal. Refer to FSU-14, "Inspection".
INSTALLATION
Note the following, and install in the reverse order of removal.
• To install rebound stopper (1), insert it with the protrusion aligned with the hole of member stay (2).

• To install member stay and mounting bolts of front suspension member, temporarily tighten the bolts before tightening to the specified torque, referring to the tightening method and the numerical order shown below:
Temporary tightening : 1 → 2 Final tightening (Specified torque) : 3 → 4 → 5 → 6 → 7 → 8 → 9 → 10 → 11 → 12
: Vehicle front

• Perform final tightening of bolts and nuts at the vehicle installation position (rubber bushing), under unladen conditions with tires on level ground.
• Perform inspection after installation. Refer to FSU-14, "Inspection".
Inspection
INSPECTION AFTER REMOVAL
Check front suspension member for cracks, wear or damage. Replace it if necessary.
INSPECTION AFTER INSTALLATION
1. Check wheel sensor harness for proper connector.
2. Check wheel alignment. Refer to FSU-7, "Inspection".
Front stabilizer
Exploded View
1. Stabilizer bar
2. Stabilizer clamp
3. Stabilizer bushing
4. Stabilizer connecting rod
5. Strut assembly
6. Front suspension member
: N·m (kg-m, ft-lb)
Removal and Instal ...
Other materials:
Precaution for Supplemental Restraint System (SRS) "AIR BAG" and "SEAT BELT
PRE-TENSIONER"
The Supplemental Restraint System such as “AIR BAG” and “SEAT BELT PRE-TENSIONER”,
used along
with a front seat belt, helps to reduce the risk or severity of injury to the
driver and front passenger for certain
types of collision. Information necessary to service the system safely is
include ...
Audible reminders
Key reminder chime
Models with Intelligent Key system:
A chime will sound if the driver side door is opened while the ignition switch
is pushed to the ACC position.
Make sure the ignition switch is pushed to the OFF position, and take the Intelligent
Key with you when leaving the vehicle.
Mo ...
Back door opener actuator
Diagnosis Procedure
1.CHECK BACK DOOR OPENER ACTUATOR INPUT SIGNAL
1. Turn ignition switch OFF.
2. Disconnect back door opener assembly connector.
3. Check voltage between back door opener assembly harness connector and ground.
Is the inspection result normal?
YES >> GO TO 3.
NO > ...

