Nissan Juke Service and Repair Manual : Rear suspension beam
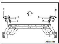
Exploded View

1. Rear suspension beam 2. Rear suspension arm bracket
: Always replace after every
disassembly.
: N·m (kg-m, ft-lb)
Removal and Installation
REMOVAL
1. Remove tires. Refer to WT-7, "Removal and Installation".
2. Drain brake fluid. Refer to BR-12, "Draining" (LHD), BR-80, "Draining" (RHD).
3. Remove wheel sensor and sensor harness. Refer to BRC-86, "REAR WHEEL SENSOR : Removal and Installation" (Without ESP), BRC-227, "REAR WHEEL SENSOR : Removal and Installation" (With ESP).
4. Remove brake caliper assembly. Refer to BR-65, "BRAKE CALIPER ASSEMBLY : Removal and Installation" (LHD), BR-131, "BRAKE CALIPER ASSEMBLY : Removal and Installation" (RHD).
5. Remove disc rotor. Refer to RAX-5, "Removal and Installation".
6. Remove parking brake cable from back plate and rear suspension beam. Refer to PB-5, "Removal and Installation".
7. Set suitable jack under rear suspension beam.
CAUTION:
• Never damage the suspension beam with a jack.
• Check the stable condition when using a jack.
8. Remove shock absorber mounting bolts (lower side). Refer to RSU-8, "Removal and Installation".
9. Remove coil spring. Refer to RSU-11, "Removal and Installation".
10. Separate brake hose and brake tube. Refer to BR-35, "REAR : Removal and Installation" (LHD), BR-101, "REAR : Removal and Installation" (RHD).
11. Remove rear suspension arm bracket mounting bolts.
12. Slowly lower jack, remove rear suspension arm bracket and rear suspension beam from vehicle.
CAUTION:
Operate while checking that jack supporting status is stable.
13. Remove wheel hub assembly. Refer to RAX-5, "Removal and Installation".
14. Remove parking brake shoe assembly. Refer toPB-7, "Removal and Installation".
15. Remove rear suspension arm bracket from rear suspension beam.
16. Perform inspection after removal. Refer to RSU-14, "Inspection".
INSTALLATION
Note the following, and install in the reverse order of removal.
• Never reuse rear suspension beam mounting nut.
• To install rear suspension arm bracket to the vehicle, temporarily tighten the bolts before tightening to the specified torque, referring to the tightening method and the numerical order shown below:
Temporary tightening : 1 → 2 → 3 → 4 Final tightening (specified torque) : 5 → 6 → 7 → 8 → 9 → 10 → 11 → 12
: Vehicle front

• Perform final tightening of rear suspension beam installation position (rubber bushing), under unladen conditions with tires on level ground.
• Perform inspection after installation. Refer to RSU-14, "Inspection".
Inspection
INSPECTION AFTER REMOVAL
Check rear suspension beam and rear suspension beam bracket for deformation, cracks or damage. Replace the part if necessary.
INSPECTION AFTER INSTALLATION
1. Check wheel sensor harness for proper connection. Refer toBRC-85, "REAR WHEEL SENSOR : Exploded View" (Without ESP), BRC-225, "REAR WHEEL SENSOR : Exploded View" (With ESP).
2. Adjust parking brake. Refer to PB-2, "Inspection and Adjustment".
3. Check wheel alignment. Refer to RSU-6, "Inspection".
4. Adjust neutral position of steering angle sensor. Refer to BRC-149, "Work Procedure". (With ESP)
Coil spring
Exploded View
1. Upper rubber seat
2. Coil spring
3. Lower rubber seat
4. Rear suspension beam
Removal and Installation
REMOVAL
1. Remove tires. Refer to WT-7, "Removal and Installatio ...
Other materials:
Front wiper motor lo circuit
Component Function Check
1.CHECK FRONT WIPER LO OPERATION
CONSULT-III ACTIVE TEST
1. Select “FRONT WIPER” of IPDM E/R active test item.
2. With operating the test item, check front wiper operation.
Lo : Front wiper (LO) operation
Off : Stop the front wiper.
Is front wiper (LO) operation norma ...
Precaution for Supplemental Restraint System (SRS) "AIR BAG" and "SEAT BELT
PRE-TENSIONER"
The Supplemental Restraint System such as “AIR BAG” and “SEAT BELT PRE-TENSIONER”,
used along
with a front seat belt, helps to reduce the risk or severity of injury to the
driver and front passenger for certain
types of collision. Information necessary to service the system safely is
include ...
Blower motor
Diagnosis Procedure
1.CHECK SYMPTOM
Check symptom (A or B).
Which symptom is detected?
A >>GO TO 2.
B >>GO TO 7.
2.CHECK FUSE
1. Turn ignition switch OFF.
2. Check 15A fuses (Nos. 14 and 16, located in fuse block (J/B)].
NOTE:
Refer to PG-22, "Fuse, Connector and T ...

