Nissan Juke Service and Repair Manual : Rear drive shaft
Exploded View

1. Circular clip
2. Dust shield
3. Housing
4. Snap ring
5. Ball cage/steel ball/inner race assembly
6. Stopper ring
7. Boot band
8. Boot
9. Shaft
10. Joint sub-assembly
11. Sensor rotor
: Wheel side
: Fill NISSAN genuine grease or an
equivalent.
: Always replace after every
disassembly.
Removal and Installati
REMOVAL
1. Remove tires. Refer to WT-7, "Removal and Installation".
2. Remove wheel sensor. Refer to BRC-86, "REAR WHEEL SENSOR : Removal and Installation" (without ESP), BRC-227, "REAR WHEEL SENSOR : Removal and Installation" (with ESP).
3. Remove caliper assembly. Hang caliper assembly in a place where it will not interfere with work. Refer to BR-65, "BRAKE CALIPER ASSEMBLY : Removal and Installation" (LHD), BR-131, "BRAKE CALIPER ASSEMBLY : Removal and Installation" (RHD).
CAUTION:
Never depress brake pedal while brake caliper is removed.
4. Remove disc rotor. Refer to RAX-14, "Removal and Installation".
5. Remove cotter pin, and then loosen wheel hub lock nut. Refer to RAX-14, "Removal and Installation".
6. Patch wheel hub lock nut with a piece of wood. Hammer the wood to disengage wheel hub assembly from drive shaft.
CAUTION:
• Never place drive shaft joint at an extreme angle. Also be
careful not to overextend slide joint.
• Never allow drive shaft to hang down without support for joint sub-assembly, shaft and the other parts.
NOTE:
Use suitable puller, if wheel hub assembly and drive shaft cannot be separated even after performing the above procedure.
7. Remove wheel hub lock nut.

8. Set jack under suspension arm.
CAUTION:
• Never damage the suspension arm with a jack.
• Check the stable condition when using a jack.
9. Remove stabilizer link. Refer to RSU-34, "Removal and Installation".
10. Remove shock absorber from suspension arm. Refer to RSU-23, "Removal and Installation".
11. Remove upper link from suspension arm. Refer to RSU-32, "Removal and Installation".
12. Remove lower link from suspension arm. Refer to RSU-30, "Removal and Installation".
13. Remove drive shaft from final drive assembly.
CAUTION:
Confirm that the circular clip is attached to the drive shaft.
14. Perform inspection after removal. Refer to RAX-23, "Inspection".
INSTALLATION
Note the following, and install in the reverse order of removal.
• Place the protector (SST: KV38107900) (A) onto final drive assembly to prevent damage to the oil seal while inserting drive shaft.
Slide drive shaft sliding joint and tap with a hammer to install securely.
CAUTION:
Check that circular clip is completely engaged.
• Perform final tightening of bolts and nuts at suspension arm (rubber bushing), under unladen conditions with tires on level ground.
• Perform inspection after installation. Refer to RAX-23, "Inspection".

Wheel side : Disassembly and Assembly
DISASSEMBLY
1. Fix shaft with a vise.
CAUTION:
Protect shaft using aluminum or copper plates when fixing with a vise.
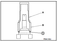
2. If sensor rotor needs to be removed, use a bearing replacer (A) and puller (B).
3. Remove boot bands. Then remove boot from joint sub-assembly.

4. Screw drive shaft puller (commercial service tool) (A) into joint sub-assembly screw part to a length of 30 mm (1.18 in) or more.
Support drive shaft with one hand and pull out joint sub-assembly from shaft.
CAUTION:
• Align drive shaft puller and drive shaft and remove them
by pulling firmly and uniformly.
• If joint sub-assembly cannot be removed after five or more unsuccessful attempts, replace shaft and joint sub assembly as a set.
5. Remove circular clip from shaft.
6. Remove boot from shaft.

7. Perform inspection after disassembly. Refer to RAX-23, "Inspection".
ASSEMBLY
1. If sensor rotor (1) is removed, use a drift (A) (SST: KV38100500) and color (B) (SST: KV40101840) to press in a new one.
CAUTION:
Never reuse sensor rotor.
2. Clean the old grease on joint sub-assembly with paper waste.

3. Fill serration slot joint sub-assembly (1) with NISSAN genuine grease or equivalent until the serration slot and ball groove become full to the brim.
CAUTION:
After applying grease, use a shop cloth to wipe off old
grease that has oozed out.

4. Install boot and boot bands to shaft.
CAUTION:
• Wrap serration on shaft with tape (A) to protect the boot
from damage.
• Never reuse boot and boot band.
5. Remove the tape wrapped around the serrated on shaft.

6. Position the circular clip (1) on groove at the shaft edge.
CAUTION:
Never reuse circular clip.
NOTE:
Drive joint inserter is recommended when installing circular clip.
7. Align both center axles of the shaft edge and joint sub-assembly.
Then assemble shaft with joint sub-assembly holding circular clip.

8. Install joint sub-assembly to shaft using plastic hammer.
CAUTION:
• Check circular clip is properly positioned on groove of the
joint sub-assembly.
• Confirm that joint sub-assembly is correctly engaged while rotating drive shaft.
9. Apply the specified amount of grease into the boot inside from large diameter side of boot.
Grease amount : Refer to RAX-24, "Drive Shaft".

10. Install the boot securely into grooves (indicated by “*” marks) shown in the figure.
CAUTION:
If grease adheres to the boot mounting surface (indicated
by “*” mark) on the shaft or joint sub-assembly, boot may
be removed. Remove all grease from the boot mounting
surface.
11. To prevent the deformation of the boot, adjust the boot installation length (L) to the specified value shown below by inserting the suitable tool into inside of the boot from the large diameter side of the boot and discharging the inside air.
L : Refer to RAX-24, "Drive Shaft".

CAUTION:
• If the boot installation length exceeds the standard, it may cause breakage of
the boot.
• Be careful not to touch the inside of the boot with a tip of tool.
12. Install boot bands securely.
CAUTION:
Never reuse boot band.
Small boot band
• Secure the ends of the boot with boot bands using the boot band crimping tool (A) (SST: KV40107300).

CAUTION:
Secure boot band so that dimension (M) meets the specification
as shown in the figure.
M : 1.0 – 4.0 mm (0.039 – 0.157 in)

Large boot band
1. Put boot band in the groove on drive shaft boot. Then fit
pawls (
) into holes to temporary
installation.
NOTE
:
For the large diameter side, fit projection (A) and guide slit
(B) at first.

2. Pinch projection on the band with suitable pliers to tighten band.
3. Insert tip of band below end of the pawl.
13. Secure housing and shaft, and then make sure that they are in the correct position when rotating boot. Reinstall them using boot bands when boot installation positions become incorrect.
CAUTION:
Never reuse boot band.

Final drive side : Disassembly and Assembly
DISASSEMBLY
1. Fix shaft with a vise.
CAUTION:
Protect shaft using aluminum or copper plates when fixing with a vise.
2. Remove circular clip from housing.
3. Remove dust shield from housing.
4. Remove boot bands, and then remove boot from housing.
5. Put matching marks on housing and shaft.
CAUTION:
Use paint or an equivalent for matching marks. Never scratch the surfaces
.
6. Remove stopper ring with suitable tool, and pull out housing.
7. Put matching marks on ball cage/steel ball/inner race assembly and shaft.
CAUTION:
Use paint or similar substance for matching marks. Never
scratch the surface.

8. Remove snap ring, then remove ball cage/steel ball/inner race assembly from shaft.
9. Remove boot from shaft.
10. Perform inspection after disassembly. Refer to RAX-23, "Inspection".

ASSEMBLY
1. Clean the old grease on housing with paper waste.
2. Install boot and boot bands to shaft.
CAUTION:
• Wrap serration on shaft with tape (A) to protect boot from
damage.
• Never reuse boot and boot bands.
3. Remove the tape wrapped around the serration on shaft.

4. Install ball cage/steel ball/inner race assembly (1) to shaft (2), and secure them tightly with a snap ring (3).
CAUTION:
Never reuse snap ring.
5. Apply the appropriate amount of grease onto housing and slid surface.
Grease amount : Refer to RAX-24, "Drive Shaft".

6. Install housing.
7. Install stopper ring to housing.
CAUTION:
Never reuse stopper ring.
8. After installed, pull shaft to check engagement between housing and stopper ring.
9. Install boot securely into grooves (indicated by “*” marks) shown in the figure.
CAUTION:
If grease adheres to the boot mounting surface (with “*”
mark) on shaft or housing, boot may be removed. Remove
all grease from the surface.
10. To prevent the deformation of the boot, adjust the boot installation length to the value shown below (L) by inserting the suitable tool into the inside of boot from the large diameter side of boot and discharging inside air.
L : Refer to RAX-24, "Drive Shaft".

CAUTION:
• If the boot installation length exceeds the standard, it may cause breakage of
the boot.
• Be careful not to touch the inside of the boot with the tip of tool.
11. Install boot bands securely as shown in the figure.
CAUTION:
Never reuse boot band.
12. Secure housing and shaft, and then make sure that they are in the correct position when rotating boot. Reinstall them using boot bands when boot installation positions become incorrect.
CAUTION:
Never reuse boot band.
13. Install dust shield to housing.
CAUTION:
Never reuse dust shield.
14. Install circular clip to housing.
CAUTION:
Never reuse circular clip.

Inspection
INSPECTION AFTER REMOVAL
• Move joint up/down, left/right, and in the axial directions. Check for motion that is not smooth and for significant looseness.
• Check boot for cracks, damage, and leakage of grease.

INSPECTION AFTER DISASSEMBLY
Check the following items, and replace the part if necessary.
Shaft
Check shaft for runout, cracks, or other damage.
Joint Sub-Assembly (Wheel Side)
Check the following:
• Joint sub-assembly for rough rotation and excessive axial looseness.
• The inside of the joint sub-assembly for entry of foreign material.
• Joint sub-assembly for compression scars, cracks, and fractures inside of joint sub-assembly.
Replace joint sub-assembly if there are any non-standard conditions of components.
Housing and Ball Cage/Steel Ball/Inner Race Assembly (Final Drive Side) Replace housing and ball cage/steel ball/inner race assembly if there is scratching or wear of housing ball contact surface.
NOTE
:
Housing and ball cage/steel ball/inner race assembly are used in a set.
Rear wheel hub and housing
Exploded View
1. Axle housing
2. Suspension arm
3. Back plate
4. Hub bolt
5. Wheel hub assembly (Bearing-integrated
type)
6. Disc rotor
7. Plug
8. Wheel hub lock nut
9. Cotter pin
: ...
Service data and specifications (SDS)
Wheel Bearing
Drive Shaft
*: For measuring position, refer to RAX-21, "FINAL DRIVE SIDE : Disassembly
and Assembly". ...
Other materials:
B1001, B1002, B1003, B1004, B1005 diagnosis sensor unit
DTC Logic
DTC DETECTION LOGIC
DTC CONFIRMATION PROCEDURE
1.CHECK SELF-DIAG RESULT
With CONSULT-III
1. Turn ignition switch ON.
2. Perform “Self Diagnostic Result” mode of “AIR BAG” using CONSULT-III.
Without CONSULT-III
1. Turn ignition switch ON.
2. Check the air bag warning lamp statu ...
System description
COMPONENT PARTS
Circuit Breaker
The PTC thermistor generates heat in response to current flow. The
temperature (and resistance) of the thermistor element varies with
current flow. Excessive current flow will cause the element's temperature
to rise. When the temperature reaches a specified level ...
Front door lock
Exploded View
1. Door key cylinder assembly (driver
side)
Outside handle escutcheon (passenger
side)
2. Outside handle
3. Front gasket
4. Inside handle
5. TORX bolt
6. Door lock assembly
7. Key rod (driver side)
8. Outside handle bracket
9. Rear gasket
10. Key rod protector (driv ...
