Nissan Juke Service and Repair Manual : Connector information
How to Read Connector Type
1 : Connector model
2 : Cavity
3 : Male (M) and female (F) terminals
4 : Connector color
5 : Special type

B Body Harness







D Door Harness







E Engine Room Harness










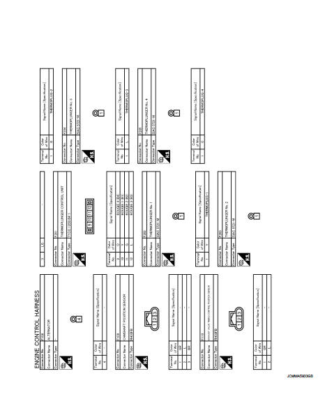
F Engine Control Harness













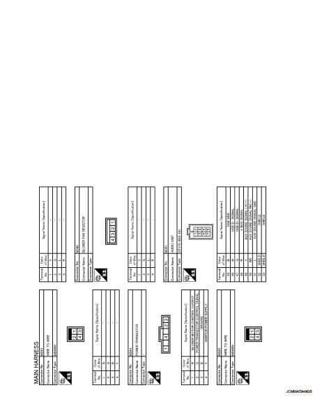
M Main Harness
















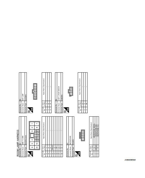
R Room Lamp Harness

Harness layout
LHD
LHD : How To Read Harness Layout
CONNECTOR SYMBOL
Main symbols of connector (in Harness Layout) are indicated in the below.
LHD : Engine Room Harness
ENGINE COMPARTMENT
PASSENGER COMPART ...
Basic inspection
...
Other materials:
Wheel alignment
Inspection
DESCRIPTION
Measure wheel alignment under unladen conditions.
NOTE:
“Unladen conditions” means that fuel, engine coolant, and lubricant are full.
Spare tire, jack, hand tools and
mats are in designated positions.
PRELIMINARY CHECK
Check the following:
• Tires for improper ai ...
Precaution Necessary for Steering Wheel Rotation after Battery Discon
NOTE:
• Before removing and installing any control units, first turn the ignition
switch to the LOCK position, then disconnect
both battery cables.
• After finishing work, confirm that all control unit connectors are connected
properly, then re-connect both
battery cables.
• Always use CONS ...
Door does not lock/unlock with door lock and unlock
switch
All door
ALL DOOR : Description
All doors do not lock/unlock using door lock and unlock switch.
ALL DOOR : Diagnosis Procedure
1.CHECK DOOR LOCK AND UNLOCK SWITCH
Check door lock and unlock switch.
Refer to DLK-79, "DRIVER SIDE : Component Function Check".
Is the inspection resu ...
