Nissan Juke Service and Repair Manual : Water hose
Exploded View

1. Hose clamp
2. Water hose A
3. Water hose B
4. Water hose B
5. Water bypass pipe
6. Hose clamp
7. Heater hose
8. Water hose C
A. Water outlet
B. Heater thermostat
C. Oil warmer
D. Heater core
: N·m (kg-m, in-lb)
Removal and Installation
REMOVAL
WARNING:
Never remove the radiator cap when the engine is hot. Serious burns could occur
from high pressure
coolant escaping from the radiator.
CAUTION:
Perform these steps after the coolant temperature has cooled sufficiently.
1. Remove the hose clamp and pull out the water hose A.
2. Remove the hose clamp and pull out the water hose B.
3. Remove the hose clamp and pull out the water hose C.
4. Pull out the heater hose and remove the water bypass pipe. Refer to CO-52, "Exploded View".
5. Remove the bracket.
INSTALLATION
Note the following, and install in the reverse order of removal.
• To install bracket to the CVT assembly, face the from arrow (A) of the bracket ahead of the vehicle.

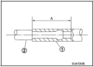
• When installing water hose (1) to tube (2), refer to insertion length “A” below.
Insertion length “A” : 27 mm (1.06 in)

• When hose clamp (1) is installed on CVT water hose (2), refer to dimension “A” below.
Dimension“A” : 5 – 7 mm (0.20 – 0.28 in)
• The hose clamp should not come on bulge (B).


Inspection
INSPECTION AFTER INSTALLATION
Start the engine, and check the joints for coolant leakage.
Differential side oil seal
Exploded View
1. Transaxle assembly
2. Differential side oil seal (left side)
3. Differential side oil seal (right side)
: Vehicle front
: Always replace after every
disassembly.
: Genuine N ...
Fluid cooler system
Exploded View
1. Bracket
2. Bracket
3. Bracket
4. CVT fluid cooler
5. Clamp
6. CVT fluid cooler hose C
7. CVT fluid cooler hose B
8. CVT fluid cooler tube assembly
9. CVT fluid cooler ...
Other materials:
Precaution
Precaution for Supplemental Restraint System (SRS) "AIR BAG" and "SEAT
BELT
PRE-TENSIONER"
The Supplemental Restraint System such as “AIR BAG” and “SEAT BELT PRE-TENSIONER”,
used along
with a front seat belt, helps to reduce the risk or severity of injury to the
driver a ...
Precaution Necessary for Steering Wheel Rotation after Battery Disconnect
NOTE:
• Before removing and installing any control units, first turn the ignition
switch to the LOCK position, then disconnect
both battery cables.
• After finishing work, confirm that all control unit connectors are connected
properly, then re-connect both
battery cables.
• Always use CONS ...
P0201, P0202, P0203, P0204 fuel injector
DTC Logic
DTC DETECTION LOGIC
DTC CONFIRMATION PROCEDURE
1.PRECONDITIONING
If DTC Confirmation Procedure has been previously conducted, always perform
the following procedure
before conducting the next test.
1. Turn ignition switch OFF and wait at least 10 seconds.
2. Turn ignition swit ...
