Nissan Juke Service and Repair Manual : Fluid cooler system
Exploded View

1. Bracket
2. Bracket
3. Bracket
4. CVT fluid cooler
5. Clamp
6. CVT fluid cooler hose C
7. CVT fluid cooler hose B
8. CVT fluid cooler tube assembly
9. CVT fluid cooler hose D
10. CVT fluid cooler hose A
11. Transaxle assembly
A. CVT oil warmer
: Vehicle front
: N·m (kg-m, in-lb)
Removal and Installation
REMOVAL
1. Remove front bumper assembly. Refer to EXT-13, "Removal and Installation".
2. Remove inlet air duct (lower). Refer to EM-161, "Removal and Installation".
3. Remove air guide (LH and RH). Refer to DLK-147, "HR16DE : Exploded View".
4. Remove hose clamps (A) and fluid cooler hose B (B).
: Vehicle front
5. Disconnect clip (C) from bracket.
6. Remove hose clamps (D) and fluid cooler hose C (E).

7. Remove nut (A) and bolts (B).
: Vehicle front
8. Remove CVT fluid cooler (with brackets) (C) from the vehicle.

9. Remove clamps (A) and fluid cooler hose A (B).
: Vehicle front
NOTE
:
Cap or plug openings to prevent fluid from spilling.
10. Remove clamps (C) and fluid cooler hose A (D).
NOTE
:
Cap or plug openings to prevent fluid from spilling.

11. Remove CVT fluid cooler tube assembly (A) from the vehicle.
: Bolt

INSTALLATION
Note the following, and Install in the reverse order of removal.
• Refer to the following when installing CVT fluid cooler hoses.

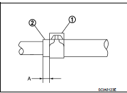
- Insert CVT fluid cooler hose according to dimension “L” described below.


- Set hose clamps (1) at the both ends of CVT fluid cooler hoses (2) with dimension “A” from the hose edge.
Tube type A, B Dimension “A” : 5 – 9 mm (0.20 – 0.35 in) Tube type C Dimension “A” : 5 mm (0.20 in)
- Hose clamp should not interfere with the bulge of fluid cooler tube.

Inspection and Adjustment
INSPECTION AFTER INSTALLATION
Check for CVT fluid leakage. Refer to TM-480, "Inspection".
ADJUSTMENT AFTER INSTALLATION
Adjust the CVT fluid level. Refer to TM-379, "Adjustment".
Water hose
Exploded View
1. Hose clamp
2. Water hose A
3. Water hose B
4. Water hose B
5. Water bypass pipe
6. Hose clamp
7. Heater hose
8. Water hose C
A. Water outlet
B. Heater thermostat
C ...
Plug
Description
Replace the O-ring if oil leakage or exudes from the plug.
Exploded View
1. Plug
2. O-ring
3. O-ring
4. Plug
: Always replace after every
disassembly.
: N·m (kg-m, ft-lb)
: ...
Other materials:
Diagnosis and repair work flow
Work Flow
OVERALL SEQUENCE
DETAILED FLOW
1.GET INFORMATION ABOUT SYMPTOM
Get the detailed information from the customer about the symptom (the
condition and the environment when
the incident/malfunction occurred).
>> GO TO 2.
2.CHECK DTC
1. Check DTC for “ENGINE” and “BCM” usin ...
System (power door lock system)
System Diagram
System Description
DOOR LOCK FUNCTION
Door Lock and Unlock Switch
• The door lock and unlock switch (driver side) is build into power window main
switch.
• The door lock and unlock switch (passenger side) is build into front power
window switch (passenger side).
• Interloc ...
P0045, P0047, P0048 TC boost control
solenoid valve
DTC Logic
DTC DETECTION LOGIC
DTC CONFIRMATION PROCEDURE
1.PRECONDITIONING
If DTC Confirmation Procedure has been previously conducted, always perform
the following procedure
before conducting the next test.
1. Turn ignition switch OFF and wait at least 10 seconds.
2. Turn ignition swit ...
