Nissan Juke Service and Repair Manual : Unit removal and installation
Engine assembly
Exploded View

1. Engine mounting assembly (RH)
2. Rear engine mounting bracket
3. Rear torque rod
4. Engine mounting bracket (LH)
5. Stud bolt
6. Engine mounting bracket (LH)
7. Engine mounting insulator (LH)
8. Mass damper
: N·m (kg-m, ft-lb)
CAUTION:
Check that the stud bolt (*2) is tight at the specified torque before tightening
the mounting nut (*1)
shown in the figure. [Stud bolt (*2) may be loosened after loosening the
mounting nut (*1)]
Removal and Installation
WARNING:
• Situate the vehicle on a flat and solid surface.
• Place chocks at front and back of rear wheels.
• Attach proper slingers and bolts described in PARTS CATALOG if engine slingers are not equipped.
CAUTION:
• Always be careful to work safely, avoid forceful or uninstructed operations.
• Never start working until exhaust system and coolant are cool enough.
• If items or work required are not covered by the engine section, refer to the applicable sections.
• Always use the support point specified for lifting.
• Use either 2-pole lift type or separate type lift as best you can. If board-on type is used for unavoidable reasons, support at the rear axle jacking point with a transmission jack or similar tool before starting work, in preparation for the backward shift of center of gravity.
• For supporting points for lifting and jacking point at rear axle, refer to GI-36, "Garage Jack and Safety Stand and 2-Pole Lift".
REMOVAL
Outline
Remove the engine and the transaxle assembly from the vehicle downward. Separate
the engine and the transaxle.
Preparation 1. Release fuel pressure. Refer to EC-551, "Work Procedure".
2. Drain engine coolant from radiator. Refer to CO-11, "Draining".
CAUTION:
• Perform this step when the engine is cold.
• Never spill engine coolant on drive belts.
3. Remove the following parts.
• Engine undercover
• Front road wheels and tires (RH and LH)
• Fillet mold: Refer to EXT-26, "Exploded View"
• Front fender protector (RH and LH): Refer to EXT-22, "Exploded View".
• Drive belt: Refer to EM-155, "Removal and Installation".
• Battery and battery tray: Refer to PG-124, "Exploded View".
• Air duct (inlet), air duct, and air cleaner case assembly: Refer to EM-161, "Removal and Installation".
• Radiator hose (upper and lower): Refer to CO-17, "Exploded View".
• Exhaust front tube: Refer to EX-12, "Exploded View".
Engine Room LH
1. Disconnect all connections of engine harness around the battery,
and then temporarily secure the engine harness into the
engine side.
CAUTION:
Protect connectors using a resin bag against foreign materials
during the operation.

2. Disconnect heater hoses. Refer to CO-26, "Exploded View".
3. Disconnect fuel feed hose at engine side. Refer to EM-173, "Exploded View".
4. Disconnect control linkage cable from transaxle. Refer to TM-25, "Removal and Installation" (M/T models), TM-485, "Removal and Installation" (CVT models).
5. Disconnect clutch tube on transaxle side from clutch damper. Refer to CL-24, "Exploded View".
Engine Room RH
1. Remove alternator. Refer to CHG-26, "HR16DE : Exploded View".
2. Disconnect vacuum hose at engine side. Refer to EM-163, "Exploded View".
3. Remove EVAP hoses at engine side. Refer to EM-163, "Exploded View".
4. Remove air conditioner compressor from the engine with the piping connected. Temporarily fix the air conditioner compressor on the vehicle side with a rope without placing a heavy load on the piping.
Vehicle Underbody
1. Remove ground cable at transaxle side.
2. Remove drive shafts (RH and LH). Refer to FAX-52, "Exploded View".
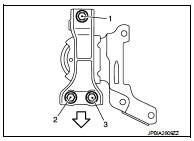
3. Remove rear torque rod (1).
2 : Rear engine mounting bracket
: Vehicle front

4. Preparation for the separation work of transaxle is as follows: • Remove transaxle joint bolts which pierce at oil pan (upper) lower rear side. Refer to EM-169, "Exploded View".
Removal
1. When engine can be hoisted, install engine slinger to cylinder
head front left side (A) and rear right side (B) and support the
engine position with a hoist.
: Engine front
Slinger bolts : 25.0 N·m (2.6 kg-m, 18 ft-lb)

2. Use a manual lift table caddy (commercial service tool) (A) or equivalently rigid tool such as a transmission jack. Securely support bottom of the engine and the transaxle assembly.
CAUTION:
Put a piece of wood or an equivalent as the supporting surface,
secure a completely stable condition.

3. Remove engine mounting bracket (RH) (2), and engine mounting insulator (RH) (1).
3 : Engine mounting insulator
A : Engine front side
B : Transaxle side
4. Remove engine mounting through bolt-securing nut (C).

5. Carefully lower jack, or raise lift to remove the engine and the transaxle assembly. When performing work, observe the following caution.
CAUTION:
• Check that no part interferes with the vehicle side.
• Before and during this lifting, always check if any harnesses are left connected.
• During the removal, always be careful to prevent the vehicle from falling off the lift due to changes in the center of gravity.
• If necessary, support the vehicle by setting jack or suitable tool at the rear.
Separation
1. Remove starter motor. Refer to STR-21, "HR16DE : Exploded View".
2. Lift with a hoist and separate the engine from the transaxle assembly. Refer to TM-30, "Exploded View" (M/T models), TM-508, "Exploded View" (CVT models).
INSTALLATION
Note the following, and install in the reverse order of removal.
CAUTION
:
• Never allow engine oil to get on engine mounting insulator. Be careful not
to damage engine mounting
insulator.
• Check that each mounting insulator is seated properly, and tighten mounting nuts and bolts.
• When installation directions are specified, install parts according to the direction marks on them referring to the figure of components. Refer to EM-215, "Exploded View".
Engine Mounting Bracket (RH) • Tighten mounting bolts in the numerical order as shown in the figure.
: Vehicle front

Inspection
INSPECTION AFTER INSTALLATION
Inspection for Leakage The following are procedures for checking fluids leakage, lubricates leakage, and exhaust gases leakage.
• Before starting engine, check oil/fluid levels including engine coolant and engine oil. If less than required quantity, fill to the specified level. Refer to MA-13, "Fluids and Lubricants".
• Use procedure below to check for fuel leakage.
- Turn ignition switch “ON” (with engine stopped). With fuel pressure applied to fuel piping, check for fuel leakage at connection points.
- Start engine. With engine speed increased, check again for fuel leakage at connection points.
• Run engine to check for unusual noise and vibration.
• Warm up engine thoroughly to check there is no leakage of fuel, exhaust gases, or any oil/fluids including engine oil and engine coolant.
• Bleed air from lines and hoses of applicable lines, such as in cooling system.
• After cooling down engine, again check oil/fluid levels including engine oil and engine coolant. Refill to the specified level, if necessary.

*: Transmission/transaxle/CVT fluid, power steering fluid, brake fluid, etc.
Cylinder head
Exploded View
REMOVAL
1. Cylinder head assembly
2. Cylinder head bolt
3. Washer
4. Cylinder head gasket
A.Tightening must be done following the installation procedure.
Refer to EM-209
: ...
Other materials:
P0705 transmission range switch A
DTC Logic
DTC DETECTION LOGIC
DTC CONFIRMATION PROCEDURE
CAUTION:
Be careful of the driving speed.
1.PREPARATION BEFORE WORK
If another "DTC CONFIRMATION PROCEDURE" occurs just before, turn ignition
switch OFF and wait for at
least 10 seconds, then perform the next test.
> ...
Precaution for Supplemental Restraint System (SRS) "AIR BAG" and "SEAT BELT
PRE-TENSIONER"
The Supplemental Restraint System such as “AIR BAG” and “SEAT BELT PRE-TENSIONER”,
used along
with a front seat belt, helps to reduce the risk or severity of injury to the
driver and front passenger for certain
types of collision. Information necessary to service the system safely is
include ...
Precaution for Supplemental Restraint System (SRS) "AIR BAG" and "SEAT BELT
PRE-TENSIONER"
The Supplemental Restraint System such as “AIR BAG” and “SEAT BELT
PRE-TENSIONER”, used along
with a front seat belt, helps to reduce the risk or severity of injury to the
driver and front passenger for certain
types of collision. Information necessary to service the system safely is
include ...

