Nissan Juke Service and Repair Manual : Fuse block - junction box (J/B)
Fuse, Connector and Terminal Arrangement

Option harness
Wiring Diagram
For connector terminal arrangements, harness layouts, and alphabets in a
(option abbreviation; if not
described in wiring diagram), refer to GI-12, "Connector Information/Explan ...
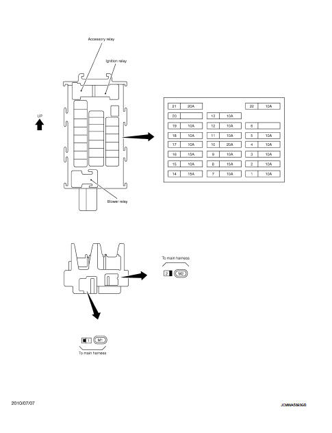
Fuse, fusible link and relay box
Fuse and Fusible Link Arrangement
HR ENGINE AND MR ENGINE WITH CVT
DIESEL ENGINE AND MR ENGINE WITH M/T
...
Other materials:
Fuel level sensor unit
Exploded View
1. Lock ring
2. Fuel level sensor unit
3. Seal packing
A. To fuel tank
: Always replace after every
disassembly
Removal and Installation
WARNING:
Read “General Precautions” when working on the fuel system. Refer to FL-45,
"General Precautions".
REMOVAL
1. Ch ...
Precaution for Supplemental Restraint System (SRS) "AIR BAG" and "SEAT BELT
PRE-TENSIONER"
The Supplemental Restraint System such as “AIR BAG” and “SEAT BELT PRE-TENSIONER”,
used along
with a front seat belt, helps to reduce the risk or severity of injury to the
driver and front passenger for certain
types of collision. Information necessary to service the system safely is
include ...
Additional service when removing battery negative terminal
Description
• The NAVI control unit is equipped with the anti-theft system.
• The NAVI control unit operates after authenticating a fixed four-digit
anti-theft code.
• After removing the battery of the NAVI control unit, the authentication of the
anti-theft code is required.
Work Procedure
...
