Nissan Juke Service and Repair Manual : Door outside molding
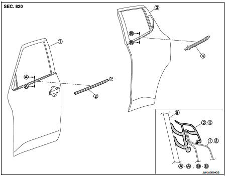
Exploded View

1. Front door panel
2. Front door outside molding
3. Rear door panel
4. Rear door outside molding
5. Door glass
: Pawl
Front door outside molding
FRONT DOOR OUTSIDE MOLDING : Removal and Installation
REMOVAL
1. Fully open front door glass.
2. Twist door outside molding toward the outside of the vehicle, and then lift up and remove it while disengaging the pawls.

INSTALLATION
Note the following item, and then install in the reverse order of removal.
CAUTION
:
When installing front door outside molding, check that pawl (1)
is accurately aligned with mounting hole (2), then press in.

Rear door outside molding
REAR DOOR OUTSIDE MOLDING : Removal and Installation
REMOVAL
1. Fully open rear door glass.
2. Twist rear door outside molding toward vehicle outside and remove molding while disengaging it from door panel.
: Pawl

3. Slide rear door outside molding (1) toward vehicle front, and then pull molding out from rear door handle (2).

INSTALLATION
Note the following item, and then install in the reverse order of removal.
CAUTION:
When installing rear door outside molding, check that pawl (1)
is accurately aligned with mounting hole (2), then press in.

Roof side molding
Exploded View
1. Roof side molding
2. Roof side molding clip
3. Double-sided tape [t: 2.5 mm (0.098 in)]
4. Body side outer panel
5. Roof panel
: Vehicle front
: Do not reuse
Removal and ...
Door sash tape
Exploded View
1. Front door panel
2. Front door sash tape
3. Rear door sash tape
4. Rear door panel
: Do not reuse
Front door sash tape
FRONT DOOR SASH TAPE : Removal and Installation
REMO ...
Other materials:
Emission control not satisfactory
Description
CHART 22: EMISSION CONTROL NOT SATISFACTORY
Diagnosis Procedure
1.CHECK ECM POWER SUPPLY AND GROUND CIRCUIT
Check ECM power supply and ground circuit. Refer to EC-885, "Diagnosis
Procedure".
Is the inspection result normal?
YES >> GO TO 2.
NO >> Repair ...
Tightening Torque Table (New Standard Included)
CAUTION:
• The special parts are excluded.
• The bolts/nuts in these tables have a strength (discrimination) number/symbol
assigned to the head
or the like. As to the relation between the strength grade in these tables and
the strength (discrimination)
number/symbol, refer to “DISCRIMINATION ...
Basic inspection
Radiator
Inspection
Check radiator for mud or clogging. If necessary, clean radiator as follows.
CAUTION:
• Be careful not to bend or damage the radiator fins.
• When radiator is cleaned without removal, remove all surrounding parts such as
radiator fan, radiator
shroud and horns. Then tap ...
