Nissan Juke Service and Repair Manual : Parking brake control
Exploded View
2WD

1. Parking brake lever assembly
2. Adjusting nut
3. Parking brake switch
4. Front cable
5. Rear cable (LH)
6. Rear cable (RH)
: Apply multi-purpose grease.
: N·m (kg-m, ft-lb)
: N·m (kg-m, in-lb)
: Always replace after every
disassembly.
4WD

1. Parking brake lever assembly
2. Adjusting nut
3. Parking brake switch
4. Front cable
5. Rear cable (LH)
6. Rear cable (RH)
: Apply multi-purpose grease.
: N·m (kg-m, ft-lb)
: N·m (kg-m, in-lb)
: Always replace after every
disassembly.
Removal and Installation
REMOVAL
1. Remove rear tires.
2. Remove the center console assembly. Refer to IP-23, "Removal and Installation".
3. Disconnect the parking brake switch harness connector.
4. Remove adjusting nut (1) and loosen front cable.
5. Remove the parking brake lever assembly.

6. Remove rear cable with the following procedure.
a. Pull equalizer (A) of the front cable (1) in a rearward direction.
b. Push the equalizer upward to remove the rear cable (2).
7. Remove center muffler and heat plate.
• MR16DDT: Refer to EX-6, "Removal and Installation".
• HR16DE: Refer to EX-12, "Removal and Installation".
• K9K: Refer to EX-17, "Removal and Installation".
8. Remove brake shoe, and remove rear cable from toggle lever.
Refer to PB-7, "Exploded View".
9. Remove rear cable mounting bolts, pull out rear cable from vehicle.

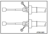
10. Press the pawl (1) to remove the rear cable from the vehicle.

INSTALLATION
Note the following, install in the reverse order of the removal.
• Never reuse adjusting nut.
• Perform adjustment after installation. Refer to PB-2, "Inspection and Adjustment".
Adjustment
ADJUSTMENT AFTER INSTALLATION
Adjust the parking brake lever stroke. Refer to PB-2, "Inspection and Adjustment".
Parking brake shoe
Exploded View
1. Anti-rattle pin
2. Back plate
3. Toggle lever
4. Parking brake shoe
5. Brake strut
6. Return spring
7. Spring
8. Adjuster
: Apply PBC (Poly Butyl
Cuprysil) grease or ...
Other materials:
Key reminder function does not operate
Diagnosis Procedure
1.CHECK DTC WITH BCM
Check that DTC is not detected with BCM.
Is the inspection result normal?
YES >> GO TO 2.
NO >> Refer to BCS-67, "DTC Index".
2.CHECK “ANTI KEY LOCK IN FUNCTI” SETTING IN “WORK SUPPORT”
1. Select “INTELLIGENT KEY” of “BCM” u ...
Getting started
The following procedures will help you get started using the Bluetooth® Hands-Free
Phone System with NISSAN Voice Recognition. For additional command options, refer
to “List of voice commands” .
Choosing a language
You can interact with the Bluetooth® Hands- Free Phone System using English,
...
Precaution for Supplemental Restraint System (SRS) "AIR BAG" and "SEAT BELT
PRE-TENSIONER"
The Supplemental Restraint System such as “AIR BAG” and “SEAT BELT PRE-TENSIONER”,
used along
with a front seat belt, helps to reduce the risk or severity of injury to the
driver and front passenger for certain
types of collision. Information necessary to service the system safely is
...

